對基礎墊鐵的要求
基礎墊鐵是連接機床與地基的關鍵部件 其精度至關重要 要求各重要結合面必須進行精磨 基礎墊鐵的上下斜面必須清潔無毛刺結合面0.03塞尺不入 基礎墊鐵與墊板和機床床腳安裝必須清潔 無毛刺 接觸均勻無毛刺 結合面0.03塞尺不入
基礎墊鐵的安裝密度將直接影響機床的剛性和機床精度的穩定性 要求墊鐵的密度不大于1個/500mm同時 在載荷密集區 可相應增加墊鐵 以提高機床的剛性 保持機床的穩定性
機床基礎二次灌漿操作應按以下兩種方式嚴格操作
壓漿法 使用非二次灌漿料
預調安裝水平
將機床主體件 床身 工作臺 立柱等 床腳固定好地腳螺栓后 吊放于大地基的工藝基礎墊鐵上 預調安裝水平 要求精度調整值不低于機床安裝精度值 以減小機床二次調整時產生的內應力基礎二次灌漿
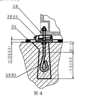
基礎二次灌漿分兩次進行 將按比例混合好的細砂 水泥灌入二次澆注坑內 上部預留80-100mm高度空間 圖1 控制H值 按鐵鐵的最小高度值加1-2mm便于安裝機床本身的調整墊鐵 并用小型振動棒夯實 固化養生3-4天
將按比例混合好的細砂 水泥灌入二次澆注坑上部預留80-100mm高度空間內 圖2用刮板 抹灰板抹平 固化3-4小時


安裝基礎墊鐵 壓漿
將基礎墊鐵上下面及床腳結合面清潔干凈后 將其仔細的插入安裝位置處 圖3并反復均勻敲擊墊鐵至墊鐵下面與水泥接觸均勻無間隙 同時 轉動基礎墊鐵的方頭 使基礎墊鐵上面與機床床腳結合面密貼 接觸質量用0.03塞尺檢驗四周不入 如果達不到要求 必須清除80-100mm高度空間內水泥 重新操作

壓漿法 按著以上程序嚴格操作后 養生6-7天 便可進行機床二次精調整安裝水平
使用二次灌漿料法
隨著水泥制品的多元化制造與使用 機床二次灌漿料正在得到國內外機床制造廠商的廣泛應用 效果優良 但操作不當應起不到應有的效果 按以下操作方法操作 才能達到最佳效果
大地浸濕
為保證二次灌漿料與大地基的良好親和性 以及二次灌漿料水分的保持性 在機床二次灌漿前2天 須將二次灌漿坑進行噴水浸濕 要求浸濕充分 不宜有過多的水分溢出 噴水浸濕可按3-5次逐漸進行如有多余溢出的水分 必須吸干 否則 將影響二次灌漿料的收縮效果預調安裝水平
將機床主體件 床身 工作臺 立柱等 床腳安裝好基礎墊鐵及地腳螺栓后 吊放于大地基的工藝基礎墊鐵上 預調安裝水平 要求精度調整值不低于機床安裝要求值 以減小機床二次調整時產生的內應力澆注基礎二次灌漿料
基礎二次灌漿料澆注分兩次進行 以控制漿的穩定性 首先 將攪拌好的二次灌漿料澆注在二次灌漿坑內 上部預留100-240mm空間圖 用振動棒夯實 固化24小時 然后 將混合好的二次灌漿料灌入二次灌漿坑上部預留100-240mm空間內 要求二次灌漿料的上液面必須高出基礎墊鐵下表面20-30mm封料高度 的高度 保證灌漿料自流充實墊鐵的安裝面 其中20-30mm的封料高度高度 可以制作圍板來實現 但圍板四周必須用水泥或玻璃膠密封好 防止水分灌漿料在養生過程水分流失 封料高度 也可在地基上直
二次灌漿料按以上程序嚴格操作后 固化養生 24 小時 便可進行機床二次精調整安裝水平

結束語
以上介紹了機床基礎質量對機床精度的影響 在機床安裝過程二次灌漿操作要領 其中壓漿法操作較為復雜 時間長 成本較低 而二次灌漿料法 操作較為簡單 時間短 成本較高
以上兩種操作方式 在我公司均得到應用 以我公司生產的SMVT1250X50/160Q-NC 12500mm 數控立式車床 及 SMVT1600X56/250Q-NC 16000mm 數控立式車床 為例 這兩臺立車為自產自用它們分別按以上壓漿法及二次灌漿料法的操作規程安裝 這兩臺機床主要承擔我公司 6300mm 立車工作臺的粗 精加工 三班制作業 在滿負荷生產一年后 對其安裝水平精度進行復檢 幾乎無走失現象 所以 機床基礎質量是機床精度穩定與保持性關鍵所在 決不容忽視
本文由 伯特利數控文章 整理發表,文章來自網絡僅參考學習,本站不承擔任何法律責任。
2024-12
U600S是宇匠數控打造的高速高精五軸加工中心,使用天車式結構搭配五軸光柵全閉環,工作臺最高承重達500KG,大幅提高五軸扭矩剛性,能真正快速拐角加工,是真正意義的高速、高精、高剛特性的五軸五聯動加工中心,其性能及質量、精度上在同價位機床保持絕對的領先優勢。可適用于多種金屬類型的… [了解更多]
2024-12
U350V五軸加工中心是宇匠數控打造的五面體快速銑車加工機床,在保證高精度加工的同時下保證高速、高剛的特性,是真正意義的五軸五聯動加工中心,其性能及質量、精度上在同價位機床保持絕對的領先優勢,在選裝專用銑車主軸后亦可車銑復合加工。可適用于鋁件、鋼件等五面體快速精密車銑復合加工;… [了解更多]
2024-10
U260V是宇匠數控打造的五面體快速精密加工中心,在保證高精度加工的同時下保證高速、高剛的特性,是真正意義的五軸五聯動加工中心,其性能及質量、精度上在同價位機床保持絕對的領先優勢。可適用于鋁件、鋼件等五面體快速精密加工;… [了解更多]
2021-09
星瀚系列是宇匠數控打造的顛覆性產品,在高精度加工的情況下保證高速、高剛的特性,是真正意義的高速加工中心,其性能及質量可媲美進口高速加工中心。同時可配置超聲波系統與石墨集塵系統,亦可運用在陶瓷等硬脆料、石墨等高粉塵料的加工;… [了解更多]